当前位置:深圳新闻网首页 > 深圳新闻 > 图片深圳 > 

现在返深还要隔离吗?超详细返深指南解答诸多问题

2020-03-12 22:46来源:深圳新闻网


03

湖北返深相关规定

根据《关于依法科学精准做好新冠肺炎疫情防控工作的通知》中明确提到:

对于疫情特别严重的湖北省,继续采取最严格的防控措施。

已实施交通管控的武汉市和湖北其他城市,严控人员输出,不建议返深。

未实施交通管控的其它省市,人员抵达目的地后,需要自觉居家隔离14天。

如14天内有湖北旅行史或居住史的,也要求居家隔离观察14天。

深圳各区的具体要求,

也可以咨询房东、

物业或者是所在街道办。

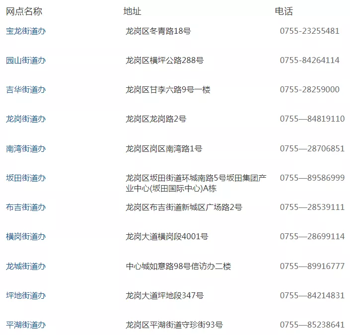
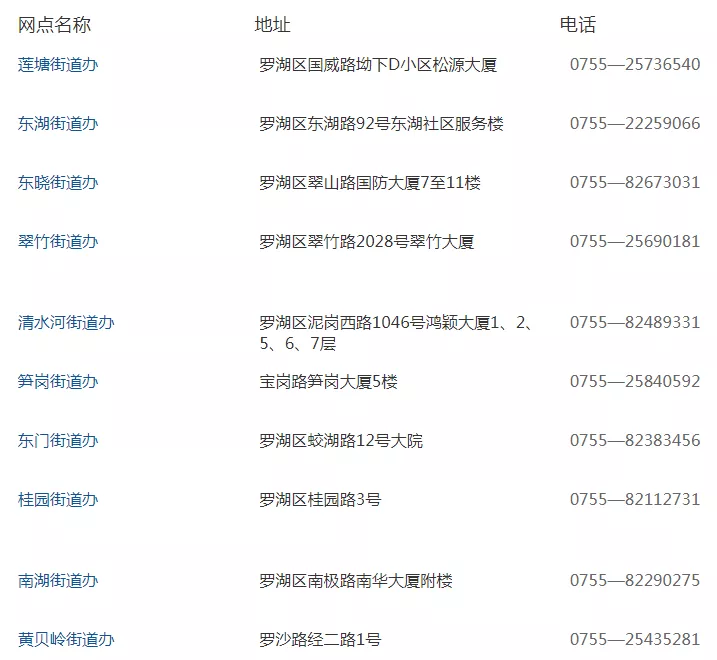
各街道办电话如下:

南山区


宝安区


盐田区


福田区


罗湖区


龙岗区


坪山区


大鹏新区


龙华区


光明区

光明街道办事处:0755-29099190

公明街道办事处:0755-27738909

新湖街道办事处:88215741

凤凰街道办事处:23190498

玉塘街道办事处:23195090

马田街道办事处:27110718


[见圳客户端、深圳新闻网编辑:何畅]

新闻评论