读特客户端·深圳新闻网2021年6月28日讯(记者 许诗妍)做好新冠疫苗接种工作,是构筑全民免疫屏障的重要举措。为深入推进队伍教育整顿及党史学习教育,切实把学习成效转化为工作动力和切实成果,福田区政务服务数据管理局积极开展“我为群众办实事”活动,开发并应用疫情系统,保障各项疫情防控工作有序开展。
在协助各街道核查确认居民的疫苗接种情况中,福田区疫情系统提供疫苗接种清单明细、登记和汇总统计功能,实时更新疫苗接种数据,掌握预约人数、已完成接种人数、待接种人数等情况,并将数据情况提供给区疾控中心,制定接种服务计划,组织医务人员实施接种。
为全面提高核酸检测工作效率、信息准确性、群众满意度,疫情系统还与省、市核酸检测系统对接,提供核酸采样明细查询、统计功能。此外,系统将已开发完成的政务短信发送功能开放给街道,由街道自主为市民发送短信,提高及时性的同时有针对性地提醒市民群众按时接种疫苗。

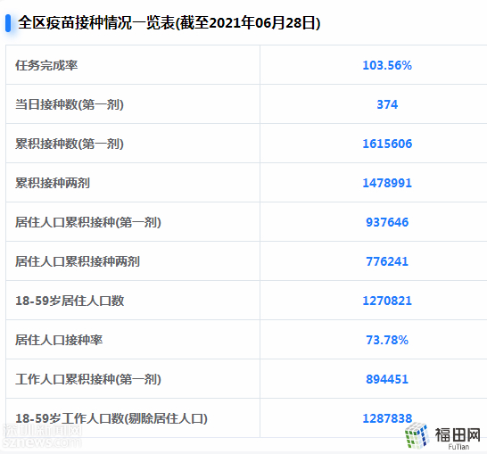
截至2021年6月28日福田区疫苗接种情况一览表。(数据来源:福田区政务服务数据管理局)
据了解,截至6月28日,福田区累计接种第一剂1615606人,累计接种第二剂1478991人,居住人口接种率达73.78%。目前,疫苗接种清单明细、登记和汇总统计功能运行良好,为有关部门疫苗接种、核酸检测工作的顺利开展提供有力支持。

