当前位置:
深圳新闻网首页
>
深圳新闻
>
图片深圳
>
明后天深圳多区域停电!福田南山这俩地将停水
评论
我要分享
2019-08-25 10:06
来源:晶报app
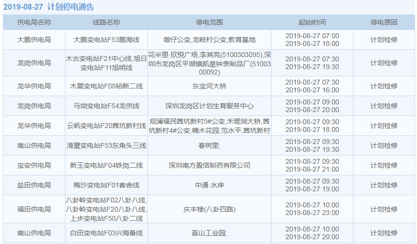
8月27日计划停电通知:
上一页
1
2
3
4
5
6
下一页
全文阅读
[见圳客户端、深圳新闻网编辑:林玟珊]
其他图片
向英雄致敬!雨夜驰援受困驴友,深圳 ...
深圳市土地使用权收回新条例 补偿标 ...
深圳这几家高水平医院入选“登峰计划 ...
每个路口都遇红灯,运气太差?交警: ...
深圳市室内应急避难场所全在这!您家 ...
光明这些路口已改造升级,包括34所 ...
神操作!给人输液被查,男子掏出"油 ...
可怕!深圳桃源村7千业主个人信息被 ...
新闻评论