这样作业要不得,3起事故3人死亡!
2021-10-17 11:22 来源:深圳应急管理
在防护装置缺乏的情况下
能否进行作业
采用安全技术规范禁止的方法施工
会有什么后果
近期,我市发生的三起事故
给出了答案
▼▼▼
事故案例
事故案例一
2021年9月18日1时09分,深圳市某大厦三楼,一工人在拆除油烟排风管道时发生高坠,经抢救无效死亡。

▲ 垮塌的油烟排风管道(事发时工人作业面)

▲ 已脱落的固定油烟排风管道的吊杆装置

▲ 工人通过高空作业平台到达作业面

▲ 油烟排风管道上的鞋印

▲ 现场遗留的鞋

▲ 工人倒地位置(事发时工人作业面下方)
事故直接原因分析:作业现场未搭设脚手架或设置安全带挂点装置及张挂安全网,工人通过高空作业平台到达拆除作业面,将安全带系挂在固定油烟排风管道的吊杆上,站在油烟排风管道上进行拆除作业,油烟排风管道和吊杆因不能承受工人的重量而垮塌,工人随即坠落地面,导致事故发生(直接原因分析结论以事故调查报告为准)。
事故案例二
2021年9月11日16时左右,深圳市某工业园,一工人在切割外墙时被倒塌的墙体砸倒受伤,经120到场确认死亡。

▲ 墙体倒塌方向

▲ 工人被墙体压倒位置

▲ 混凝土切割机(现场作业工具)
事故直接原因分析结论:涉事工人违规采用底部切割、整体推倒的错误方法进行墙体拆除作业。事发前,工人使用混凝土切割机已完成墙体底部、顶部及右侧的切割,在切割左侧墙体时,墙体失稳倒塌砸到工人,导致事故发生(直接原因分析结论以事故调查报告为准)。
事故案例三
2021年8月28日16时左右,深圳市某工业园,一工人在拆除墙体作业时被突然倒塌的墙体砸伤,经120到场确认死亡。

▲ 事故现场

▲ 墙体倒塌方向

▲ 墙体底部断裂位置

▲ 电镐(现场作业工具)

▲ 墙体倒塌时工人作业区域
事故直接原因分析结论:涉事工人违规采用底部破坏(使用电镐破坏墙体底部)、整体推倒的错误方法进行墙体拆除作业。事发时,工人在作业过程中,墙体突然失稳砸到工人,导致事故发生(直接原因分析结论以事故调查报告为准)。
上述三起事故涉嫌违反建筑拆除工程、高处作业等安全技术规范,其中两起墙体拆除施工事故中,作业人员均采用底部掏掘、整体推倒这种安全技术规范严禁采用的方法施工,最终导致事故的发生,可见安全技术规范既是准则也是不可逾越的红线。

知识点
#1
什么是坠落悬挂安全带、区域限制安全带?
坠落悬挂安全带是高处作业或登高人员发生坠落时,将作业人员安全悬挂的安全带。

▲ 坠落悬挂安全带
区域限制安全带是用以限制作业人员的活动范围,避免其到达可能发生坠落区域的安全带。

▲ 区域限制安全带
#2
什么是挂点装置、挂点?
挂点装置是由一个或多个挂点和部件组成的,用于连接坠落防护装备与附着物(墙、脚手架、地面等固定设施)的装置。
挂点是挂点装置中与坠落防护装备相连接的部件。
01
A型挂点装置
A型挂点装置是指用结构固定装置固定,使用时挂点不随使用人员的移动而移动的挂点装置。

02
B型挂点装置
B型挂点装置是指不需要用结构固定装置固定,使用时挂点不随使用人员的移动而移动的挂点装置。

03
C型挂点装置
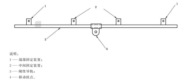
C型挂点装置指水平使用的柔性导轨装置。

04
D型挂点装置
D型挂点装置指水平使用的刚性导轨装置。

05
E型挂点装置
E型挂点装置指安置在平面上,带有配重的挂点装置。

#3
什么是安全平网、安全立网?
安全平网是安装平面不垂直于水平面,用来防止人、物坠落,或用来避免、减轻坠落及物击伤害的安全网。

安全立网是安装平面垂直于水平面,用来防止人、物坠落,或用来避免、减轻坠落及物击伤害的安全网。

造成事故的主要原因有哪些?
#1
人的不安全行为
01
在安全带挂点装置、脚手架、安全网等防护装置缺乏的情况下进行作业;
02
拆除建筑墙体时,采用底部掏掘、整体推倒的错误方法;
03
未根据作业环境变化及时调整安全防护措施,未对拟拆除物的稳定状态进行监测,发现事故隐患时,未停止作业。
#2
物的不安全状态
01
安全带挂点装置、脚手架、安全网等防护装置缺乏;
02
拟拆除物处于不稳定状态;
03
现场警戒线、安全警示标志缺乏。
#3
管理的缺陷
01
拆除工程施工作业前,未对拟拆除物的实际状况、防护措施、人员清场、施工机具及人员培训教育情况等进行检查;
02
拆除工程施工前,施工单位未对施工作业人员进行书面安全技术交底;
03
拆除工程施工未配备专职安全生产管理人员,对各项安全技术措施进行监督、检查。
怎么预防建筑拆除工程施工事故的发生?
#1
当进行人工拆除作业时,作业人员应在稳定的结构或脚手架上操作。


#2
在距坠落高度基准面2m及2m以上,有发生坠落危险的场所作业,应使用坠落悬挂安全带或区域限制安全带。
#3
如工作平面高于坠落高度基准面3m及3m以上,应在存在坠落危险的部位下方张挂安全平网及在坠落危险的部位外侧垂直张挂安全立网。
#4
拆除工程施工作业前,应对拟拆除物的实际状况、周边环境、防护措施、人员清场、施工机具及人员培训教育情况等进行检查;施工作业中,应根据作业环境变化及时调整安全防护措施,对拟拆除物的稳定状态进行监测,发现事故隐患时,必须停止作业。
#5
高处作业时,如安全带无固定挂点,应将安全带挂在刚性导轨或具有足够强度的柔性导轨上,禁止将安全带挂在移动或带尖锐棱角的或不牢固的物件上。


#6
拆除工程施工必须按施工组织设计、安全专项施工方案实施;在拆除施工现场划定危险区域,设置警戒线和相关的安全警示标志,并应由专人监护。拆除工程施工应按有关规定配备专职安全生产管理人员,对各项安全技术措施进行监督、检查。
#7
人工拆除施工应从上至下逐层拆除,并应分段进行,不得垂直交叉作业。当进行人工拆除作业时,水平构件上严禁人员聚集或集中堆放物料。当人工拆除建筑墙体时,严禁采用底部掏掘或推倒的方法。
拆除作业莫小瞧
防护装置要设牢
技术规范记心中
安全拆除才是好
end
▌创编:深圳应急管理

往期“急”看
你准备好了吗?第二届“强安杯”安全知识竞赛(初赛)即将开启!
2021-10-16

46人遇难!台湾高雄一大楼凌晨发生火灾
2021-10-15

“圆规”西移渐远!冷空气要来了?
2021-10-14

2人死亡、1人抢救!厦门一高层住宅发生火灾
2021-10-14




